
| Der Heber (griech.: 'Syphon') ist ein Gerät zum Heben von Flüssigkeiten über ihren Spiegel durch Luftdruck. Er hat zwei Erscheinungsformen. |
Der Stechheber wird durch Ansaugen der Flüssigkeit gefüllt und ist besser bekannt als Pipette. ![]() |
| Jeder hat ihn in der Wohnung, keiner nimmt Notiz davon. Im Abfluss des Wasch- und Klobeckens verbirgt sich ein Saugheber, der für den Geruchsabschluss zur stinkenden Kanalisation sorgt. Der Saugheber (Schenkelheber) ist eine gebogene Röhre mit verschieden langen Schenkeln. Der kürzere wird in die Flüssigkeit getaucht, am längeren wird angesaugt, bis die Flüssigkeit über den höchsten Punkt der Biegung gestiegen ist. Dann fließt sie selbsttätig durch den längeren Schenkel des Hebers ununterbrochen aus. Ein Saugheber ist zu vergleichen mit einem Seil, das sich von einer Tischplatte herunterringelt und dabei auch eine kleine Erhöhung überwindet. |
![]() |
| Der Flüssigkeitsstrom (Volumen / Zeit) wird bestimmt durch die Wassersäule unterhalb des Flüssigkeitsniveaus (rgh3) . Die Säule rgh2 wird kompensiert durch rgh1 oberhalb des Flüssigkeitsniveaus. Je länger 3, desto schneller fließt's. 1 und 2 spielen keine Rolle. Allerdings gibt es Grenzen, bedingt durch Luft- und Dampfdruck der Flüssigkeit. Bei Wasser läuft über 10 m nichts mehr. Auch die Reibung spielt mit: Je länger und je enger die Röhre ist, um so langsamer fließt es. |
|
|
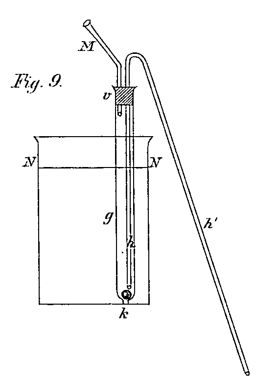
Herons Becher, Tantalus-Becher Füllt man ihn übermäßig voll, so entleert er sich erbarmungslos bis zur bitteren Neige. Allerdings führt das seltsame Innere zu bedenklichen Blicken des Durstigen. ![]() |
![]() |
| Schlichting, Hans-Joachim; Ucke, Christian: Der Trank aus dem Tantalusbecher Physik in unserer Zeit 29 (1998), Heft 4, 174-176 |
|
Taucht man diesen Heber (in einen schönen Grog) ein, so beginnt die Entleerung sehr oft von selbst. Wenn die zweite Krümmung unter die Flüssigkeitsoberfläche kommt, wird die Flüssigkeit durch das Rohr getrieben (verbundene Gefäße / kommunizierende Röhren) und schießt aus Trägheit über ihr Ziel hinaus. Die Flüssigkeit wird oft auch die dritte Krümmung überwinden und der Ausfluss beginnt... |
![]() |
Weitere Möglichkeiten einen Heber ohne Ansaugen in Aktion zu versetzen:
|
![]() |
|
![]() |
|
Wie man aus einem Liter Wein zwei machen kann... (geht auch mit Wasser!) |
![]() |
| Oder aus einem Liter Wasser einen Liter Wein... | ![]() |
|
Man nehme ein Gel aus Polyäthylenoxid-Polymer und Wasser (unter Zusatz von Azeton), eine extrem viskose nicht Newton-Flüssigkeit. Gießt man sie in ein anderes Gefäß, rutscht sie vollständig heraus, auch wenn man das Ausgießen anhalten möchte. Vor einiger Zeit gab es in unserer Kantine eine gleichartige Masse, genannt "Milchpudding". Sie flupste ständig von Löffel und so schnell habe ich noch nie gegessen: nämlich gar nicht. Leider habe ich mir nicht das Rezept geben lassen... |
![]() |
| 1873 | Sedlaczek | Ein neuer Heber | Annalen der Physik und Chemie 224 (2-148) | 333 334 Bild |
| 1876 | Antolik | Verbesserter Giftheber | Annalen der Physik und Chemie 234 (2-158) | 618 619 |
![]() |
Letzte Änderung 11.5.2005 |